Końcówka rurowa KC90 20-240, przekrój: 240mm2, otwór pod śrubę M20 | KC90_20-240/1 Erko
Końcówka rurowa KC90 20-240, przekrój: 240mm2, otwór pod śrubę M20
Informacja o Produkcie
Alternatywny kod produktu: KC90_20-240/1
- Producent Erko
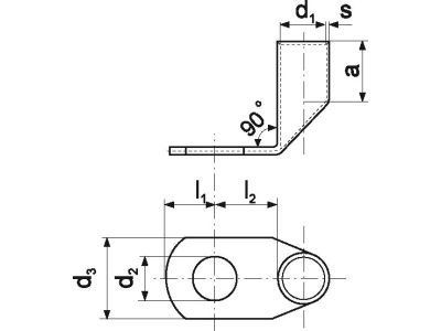
Końcówka rurowa do przewodów miedzianych
- Rozmiar gwintu metrycznego przyłącza 20
- Kąt połączenia 90°
- Kształt końcówki Oczkowy
- Model bez kołnierza Tak
- Z izolacją Nie
- Z otworem kontrolnym Nie
- Materiał Miedź
- Zabezpieczenie powierzchni Cynowanie
- Nominalny przekrój poprzeczny 240 mm²
Do pobrania
Wszystkie obrazy



















