Kod
1028607
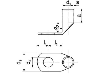
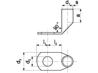
Końcówka rurowa KC90 20-185, przekrój: 185mm2, otwór pod śrubę M20 | KC90_20-185/1 Erko
Końcówka rurowa KC90 20-185, przekrój: 185mm2, otwór pod śrubę M20
Informacja o Produkcie
Alternatywny kod produktu: KC90_20-185/1
- Producent Erko
Końcówka rurowa do przewodów miedzianych
- Rozmiar gwintu metrycznego przyłącza 20
- Kąt połączenia 90°
- Kształt końcówki Oczkowy
- Model bez kołnierza Tak
- Z izolacją Nie
- Z otworem kontrolnym Nie
- Materiał Miedź
- Zabezpieczenie powierzchni Cynowanie
- Nominalny przekrój poprzeczny 185 mm²
Do pobrania
Wszystkie obrazy



















